
醫療不只是看單一次的檢查數據,而是守護一個人的「全生命週期」。醫療檢驗結果是制定醫療計畫的重要依據,而在面對這些「英文、符號與數字的組合」時,不光是長者,很多民眾都很好奇這些組合是什麼意思,所以,花蓮慈濟醫院副院長吳彬安帶領人工智慧醫療創新發展中心(AI中心)團隊,開發「全週期健康指標追蹤健康分析報告系統(Lifecycle Health Indicators Tracking & Analysis Report,簡稱 LHIT)」,並在4月13日獲得「第一屆臺灣50優良SMART應用程式獎」的肯定,展現慈濟智慧科技醫療與全人照顧的深度結合。

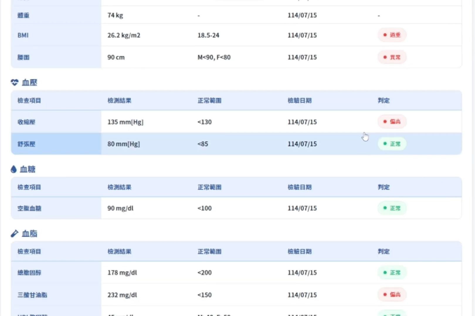
吳彬安副院長表示,LHIT系統的核心價值在於以病人為中心的「全人(Holistic Care)」概念。過去的健檢報告往往侷限於單一項目或單次數據,民眾看得到數字卻看不出潛在的疾病趨勢;而LHIT系統打破了科別與項目的藩籬,將病人從過去到現在、跨院內各科別的所有檢查數據進行深度動態整合,再透過圖表呈現個人健康趨勢曲線,讓接受檢查的民眾及家屬能更清楚了解自己的身體狀況。吳副院長形容:「這套系統就像是為每位民眾配置了一位專屬的『個人AI醫師』,能從海量的歷史數據中,精準分析出一個人的健康演變,真正做到以人為本的精準醫療。」

從全臺115支參賽隊伍中脫穎而出,獲選為TOP 50隊優良應用程式的「LHIT 全週期健康指標追蹤健康分析報告系統」基於國際通用的 SMART on FHIR 架構開發。系統不僅能自動進行代謝症候群風險評估,更將複雜的醫學數據轉化為代謝健康、心血管健康與肝腎功能等三大面向的健康評分(1-5 顆星),並輔以長期趨勢折線圖。透過 LHIT,醫師能一鍵調閱病人跨年度、跨項目的檢查紀錄,讓隱藏在數據背後的健康風險無所遁形。

AI中心專案經理張峻維分享技術亮點指出,LHIT系統透過CQL(臨床查詢語言)邏輯進行深度自動化分析,能即時提供臨床決策支援。更重要的是,系統採用FHIR通用格式(快速健康照護互通資源),讓醫療資訊具備標準化的互通性。張峻維表示:「在 FHIR 格式的架構下,未來在衛生福利部的指導與推動下,LHIT更有潛力進行跨院區的數據對接與分析。這意味著民眾的『個人健康管家』將不再侷限於單一醫院,而是能隨時隨地守護民眾,落實家庭醫師甚至是個人醫師的願景。」

在守護民眾健康的同時,花蓮慈院AI中心針對資訊安全也是萬分謹慎。LHIT不僅符合現行的各項資通訊法規規範,而且目前是建立衛生福利部提供的沙盒系統,有效避免個資外洩等資安風險。透過LHIT系統的應用,花蓮慈濟醫院將理性的科學檢驗數據轉化為有溫度的健康守護,幫助臨床醫師能更有效率且精準地解釋並制定健康醫療計畫,讓民眾能掌握自己完整的健康脈絡,讓AI智慧科技成為全人醫療與預防醫學的最強後盾。
撰文/黃思齊;攝影/花蓮慈濟醫院
